Jiangsu Xuben PhotoeenGric Technology Cool Technology Co. , Ltd.
Jiangsu Xuben PhotoeenGric Technology Cool Technology Co. , Ltd.
ထုတ်ကုန်များ
ထုတ်ကုန်များ
SC / APC SX adapter (flange မပါဘဲ)
  • SC / APC SX adapter (flange မပါဘဲ)SC / APC SX adapter (flange မပါဘဲ)

SC / APC SX adapter (flange မပါဘဲ)

ဖောက်သည် PN:1000053203ဗျာ:A.1အတည်ပြု:c.cရက်စွဲ07/10/2024ကုန်ပစ္စည်းအကြောင်းအရာ:COUPLER ဟုလည်းခေါ်သည့်ဖိုင်ဘာ Optic Adapter သည် fiber optic cable များကိုရပ်ဆိုင်းရန်သို့မဟုတ်ဖိုင်ဘာမှန်ဘီလူးနှစ်ခုအကြားဖိုင်တွဲများသို့မဟုတ်ဖိုင်ဘာအော့ပတစ် ဦး နှင့်ချိတ်ဆက်ခြင်းကိုအတိအကျချိတ်ဆက်ခြင်းအားဖြင့်ဖိုင်ဘာ opti......
ဖောက်သည် PN: 1000053203 ဗျာ: A.1
အတည်ပြု: c.c ရက်စွဲ 07/10/2024


ကုန်ပစ္စည်းအကြောင်းအရာ:

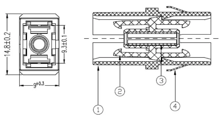
COUPLER ဟုလည်းခေါ်သည့်ဖိုင်ဘာ Optic Adapter သည် fiber optic cable များကိုရပ်ဆိုင်းရန်သို့မဟုတ်ဖိုင်ဘာမှန်ဘီလူးနှစ်ခုအကြားဖိုင်တွဲများသို့မဟုတ်ဖိုင်ဘာအော့ပတစ် ဦး နှင့်ချိတ်ဆက်ခြင်းကိုအတိအကျချိတ်ဆက်ခြင်းအားဖြင့်ဖိုင်ဘာ optic connector များအားလုံးကိုအတိအကျဖြင့်ပြုလုပ်နိုင်သည်။ တစ်ချိန်တည်းမှာပင်ဖိုင်ဘာ optic adapters များသည်အနိမ့်ဆုံးသွင်းခြင်းဆုံးရှုံးမှု,


လျှောက်လွှာ -

●ဆက်သွယ်ရေးကွန်ရက်များ

●ဒေသခံ area ရိယာကွန်ယက်များ (LANS)

●ဆက်သွယ်ရေးစနစ်

● 0 တ်ထုများတပ်ဆင်ခြင်း

●ကျယ်ပြန့်သော area ရိယာကွန်ယက်များ (WANS)

●ဗီဒီယိုဂီယာ

● patch ကြိုးများအကြားဆက်သွယ်မှု

● FTTX, CATV

●ကိရိယာများအကြားဆက်သွယ်မှုများ

●တိုင်ကြားချက်ရှိတဲ့ rohs

●တစ်ခုတည်းအပိုင်းအစ


စွမ်းဆောင်ရည်သတ်မှတ်ချက်များ:

တေးရေး SC / APC adapter
ကိုယ်ခန္ဓာပုံစံ ဆွာပုံပြင်ယံ
Connector ဖိုင်ဘာ Mode တစ်ခုတည်း mode ကို
အရောင် စိမ်းလန်းသော
အင်္ကျီလက် အိုးလုပ်ငန်းနျင့်ဆိုင်သော
သွင်းဆုံးရှုံးမှု ≤0.2db
Alternation Note ≤0.2db
ပြန်လုပ်ခြင်းသည် ≤0.2db
ကြာရှည်ခံမှု 0.2db 0.2dB ထက်နည်းသည်
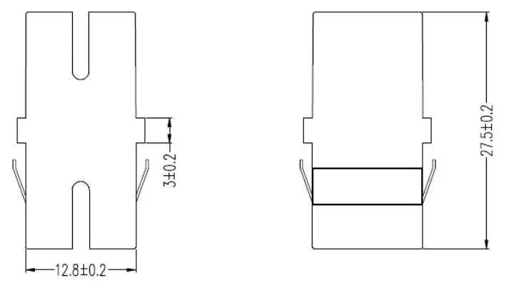
Package Dimension (L) × (w) × (ဇ) 27.5xx14.8X9 မီလီမီတာ
အလုပ်လုပ်အပူချိန် -40 ~ 85 ° C
သိုလှောင်အပူချိန် -40 ~ 85 ° C


ပုံကြမ်းပုံကြမ်း:

SC/APC SX Adapter (Without Flange) SpecSC/APC SX Adapter (Without Flange) Spec



Hot Tags: SC / APC SX adapter (flange မပါဘဲ)
စုံစမ်းမေးမြန်းရန်ပေးပို့ပါ။
ဆက်သွယ်ရန်အချက်အလက်
  • လိပ်စာ

    90 Yangtanggang လမ်း, စီးပွားရေးဖွံ့ဖြိုးတိုးတက်မှုဇုန်, Jurong City, Jiangsu ပြည်နယ်, Jiangsu ပြည်နယ်

  • အီးမေး

    shenwei@orientalfiber.com

ကျွန်ုပ်တို့၏ထုတ်ကုန်များသို့မဟုတ်စျေးနှုန်းများနှင့် ပတ်သက်. မေးမြန်းလိုပါက ကျေးဇူးပြု. သင်၏အီးမေးလ်ကိုကျွန်ုပ်တို့ထံပို့ဆောင်ပါ။ 24 နာရီအတွင်းကျွန်ုပ်တို့ဆက်သွယ်ပါမည်။
သတင်းအကြံပြုချက်များ
X
We use cookies to offer you a better browsing experience, analyze site traffic and personalize content. By using this site, you agree to our use of cookies. Privacy Policy
Reject Accept